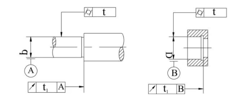
前言:線棒材四列圓柱滾子軸承在高溫、重載、沖擊載荷以及冷卻水和氧化鐵皮污染的工況環(huán)境下運行分,其安裝與維護工作尤為重要,正確的安裝維護可以有效的減少軸承的在機運行故障。清洗:用煤油清洗軸承箱孔、軋輥輥頸(裝軸承內圈處)確保干凈整潔。檢查:軸承箱的各加工表面(孔徑、壓蓋端面、定距環(huán))如有毛刺、凸點,必須用磨光機或砂紙打磨平整,并清洗干凈。測量:數據依據見表1-3。安裝前須測量軸承箱內徑,軋輥輥徑,檢查軸承箱及輥徑尺寸是否符合安裝要求(橢圓、錐度)測量位置及公差要求如下圖所示要求。在四個軸向位置(a-b-c-d)測量軸承座的直徑數值,每個位置分別在4個徑向方向上測量,以及A1和A2的相對位置。

在六個軸向位置(a-b-c-d-e-f)測量輥頸的直徑數值,每個位置分別在4個徑向方向上測量,c-d-e作為安裝軸承內圈的數據依據,b-a作為安裝輔機軸承的數據依據,f作為安裝動迷宮環(huán)的數據依據。
表1軸徑與箱孔的形位公差

注:對于外徑>500mm,此時采用加工公差的一半數值。

表2輥頸的極限偏差

表3軸承箱孔的極限偏差

待安裝前工作確保完成后,對軸承進行拆封,對拆封的軸承要帶上專用(清潔干凈)手套進行搬運。內圈加熱:對軸承內圈進行加熱(電感應加熱器),加熱溫度必須控制在80-100度之間,不可超過120度,避免造成材料回火,降低軸承的自身硬度,影響軸承的使用壽命,溫度達到后迅速將內圈安裝至輥頸處,并擠壓內圈端面施加壓力待內圈稍微冷卻后解除壓力(防止內圈安裝不到位,端面與軸肩不貼合)

外組件裝配:軸承座孔徑進行稀油潤滑或薄薄涂上一層油脂,保護軸承外徑與軸箱孔徑在裝配式不會相互劃傷,切記裝配時不可敲擊軸承的滾動體來傳遞力量,要選用橡膠棒或銅棒對軸承外圈端面進行適當的敲擊即可。(外圈與軸承箱為過渡或間隙配合輕微敲擊即可裝入箱體內)壓蓋裝配:外組件裝入箱體內后,合上壓蓋并用塞尺測量出軸承箱壓蓋面和箱體端面之間的間隙,然后移走端蓋,插入墊片(金屬墊片)墊片的厚度應與測量的間隙相一致,用固定螺栓將端蓋固定。注意:如不具備墊片調整項目進行,請確保合上壓蓋后,壓蓋伸口端面與軸承外圈端面處于貼合狀態(tài)(務必保障壓蓋與軸承外圈端面之間間隙<0.1mm) 合套:合套前對輥頸的內圈端面涂抹上油脂防止裝配碰傷,完成安裝后轉動軸承座或軋輥,要確保轉動靈活。